
文/乐居财经 杨凯越炒股杠杆口诀
泛家居行业的“上市俱乐部”再添一员。
3月24日,N矽电股份(301629.SZ)在创业板挂牌上市,保荐机构为招商证券。此次IPO,矽电股份发行价为52.28元,发行1043.18万股,募集资金总额为5.45亿元,扣除发行费用后的募集资金净额为4.64亿元。
矽电股份成立于2003年,是国内最早研发探针测试技术的企业之一,也是国内主要的探针台设备供应商之一。
据CSAResearch研究报告,2019年矽电股份在中国探针台市场的占有率为13%,排名第四。结合公司营收规模及SEMI的统计数据进行测算,2021年度至2024年1-6月,矽电股份在中国大陆地区的市场份额分别为19.98%、23.68%、25.70%及23.30%。
探针测试技术是一种通过探针接触被测物,进行电学性能测量的技术,广泛应用于半导体制造、材料研究等领域。
经过二十余年的发展,其已成为大陆地区规模最大的探针台设备制造商。但矽电股份IPO的过程却颇为复杂。
深交所官网信息显示,矽电股份于2022年6月递交招股书,IPO申请获受理的两个月后,由于保荐机构招商证券被中国证监会立案调查,导致其IPO进程被迫中止。
2023年4月,矽电股份顺利过会,但又在提交注册环节僵持了21个月。期间,矽电股份矽电股份申报会计师天职国际被暂停证券业务,其IPO再度被中止。直到今年1月份,矽电股份IPO进程才恢复。
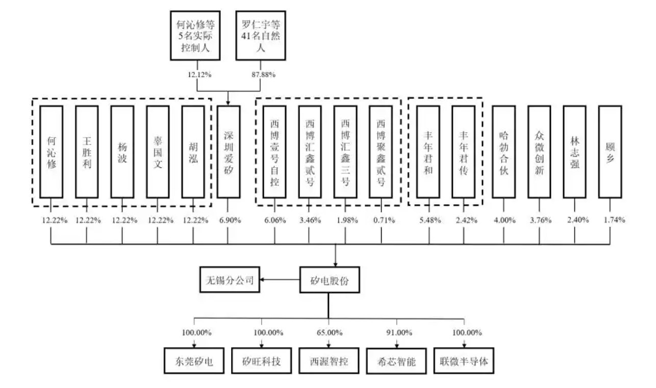
2003年12月,均为半导体行业“科班出身”的何沁修、王胜利、杨波、辜国文四人一拍即合,共同出资50万元成立了矽电股份。次年8月,又拉进了毕业于多伦多大学机械工程专业,并在哈尔滨工业大学(深圳)任职的胡泓。
至矽电股份IPO,何沁修、王胜利、杨波、辜国文、胡泓5位创始人通过直接和间接持股合计控制公司67.99%的表决权实现对公司的控制,五人一起为公司控股股东、实际控制人。

此外,在递表深交所前夕,由华为全资控股的哈勃合伙,通过受让何沁修、杨波、王胜利、辜国文、胡泓、深圳爱矽所持公司4%股份突击入股,创始团队的股权转让价款合计8000万元。
天气渐暖,属于泛家居行业的上市行情也逐渐走热。除了N矽电股份成功挂牌创业板外,3月21日有消息称,图特股份(874697.NQ)也成功挂牌新三板。据悉炒股杠杆口诀,图特股份的IPO历程也十分波折,曾有业内人士分析称其或受“IPO收紧”的影响。
海量资讯、精准解读,尽在新浪财经APP
文章为作者独立观点,不代表正规配资十大排名_十大合法配资_十大正规配资平台观点